Top.Mail.Ru
Ваш город - Колумбус?
+7 (812) 220-40-40
E-mail
sale@technobearing.ru
Адрес
Санкт-Петербург, ул. Понссе, 22
Режим работы
Пн-Пт.: с 8:00 до 17:30

Механическая обработка деталей

Специалисты компании Technobearing выполняют механическую обработку компонентов в соответствии с чертежами и образцами, предоставленными Заказчиком. После выполнения всех операций заказчик получает готовые детали, не требующие дополнительной обработки.
Вы можете заказать следующие услуги:
  • Расточка черновых отверстий (для звездочек, шестерен и других деталей).
  • Изготовление шпоночного паза.
  • Создание резьбовых отверстий для зажимных винтов.
  • Сверление гладких и резьбовых отверстий на торцах прецизионных валов.
  • Запрессовка подшипников в детали (шкивы, звездочки).
Заказать мех. обработку

Ознакомиться с расценками на расточку отверстий и изготовление отверстий в торцевой части прецизионных валов Вы можете ниже.

Детали под расточку

Цены действительны для следующих деталей с черновым отверстием под расточку:


1. Звёздочки/зубчатые колёса:
  • Для деталей со ступицей или без.
  • Число зубьев должно быть кратно 3.
  • Наружный диаметр не более 300 мм.
2. Незубчатые детали:
  • С отверстием под расточку.
  • Максимальный внешний диаметр не более 300 мм.
3. Отверстия для стопорных винтов:
  • Для деталей с наружным диаметром не более 130 мм.

Если детали не соответствуют приведённым требованиям, то цена их обработки согласовывается индивидуально.

Стоимость расточки муфт:

для муфт типа FC, JC, RC, BC бренда ISKRA - цена за расточку двух отверстий в одной муфте - 750 руб. с допуском размера отверстий H9. Изготовление шпоночных пазов в муфтах ISKRA возможно только для серии JC, стоимость рассчитывается по прайсу для каждой полумуфты отдельно. Изготовление шпоночных пазов нестандартных размеров и c нестандартными отверстиями согласовывается индивидуально.

Важно:
  • Предельные отклонения размера D определены по умолчанию как H8 (при менее строгом допуске возможно предоставление дополнительной скидки).
  • Предельные отклонения для размера b установлены по умолчанию как Js9 (допуски D10 или P9 требуют отдельного согласования).
  • Стопорные винты включены в стоимость операций.
  • Указанные цены приведены в рублях с учетом НДС и являются розничными.
Диаметр
отверстия
D, мм
Ширина
паза
b, мм
Глубина
паза t
по ГОСТ
3360-78, мм
Резьба
под
винт М
  Материал Стоимость за изделия
из алюминия, стали,
нержавеющей стали
1-20шт 21-50шт 50шт+
5 - - М3 Стоимость
обработки
         
6 - - М3 сталь,
алюминий
Диаметр отверстия H8 730 660 580
7 - - М3 Диаметр отверстия H7 1050 945 840
8 - - М3 Шпон паз 835 750 670
9 - - М3 Резьба под винт 300 270 240
10 - - М3          
11 4 12,8 М3 чугун Диаметр отверстия H8 750 675 600
12 4 13,8 М3 Диаметр отверстия H7 1070 960 850
14 5 16,3 М4 Шпон паз 850 765 680
15 5 17,3 М4 Резьба под винт 310 280 245
16 5 18,3 М4          
18 6 20,8 М5 нержавеющая
сталь
Диаметр отверстия H8 760 690 600
19 6 21,8 М5 Диаметр отверстия H7 1100 980 870
20 6 22,8 М5 Шпон паз 870 780 700
21 6 23,8 М5 Резьба под винт 310 280 250
22 6 24,8 М5          
24 8 27,3 М6          
Диаметр
отверстия
D, мм
Ширина
паза
b, мм
Глубина
паза t
по ГОСТ
3360-78, мм
Резьба
под
винт М
  Материал Стоимость за изделия
из алюминия, стали,
нержавеющей стали
1-20шт 21-50шт 50шт+
25 8 28,3 М6 Стоимость
обработки
сталь,
алюминий
Диаметр отверстия H8 1200 1080 960
26 8 29,3 М6 Диаметр отверстия H7 1400 1260 1120
28 8 31,3 М6 Шпон паз 1050 945 840
30 8 33,3 М6 Резьба под винт 420 380 335
32 10 35,3 М8          
33 10 36,3 М8 чугун Диаметр отверстия H8 1230 1100 980
34 10 37,3 М8 Диаметр отверстия H7 1430 1285 1140
35 10 38,3 М8 Шпон паз 1070 960 860
36 10 39,3 М8 Резьба под винт 430 390 340
38 10 41,3 М8          
40 12 43,3 М10 нержавеющая
сталь
Диаметр отверстия H8 1250 1120 1000
42 12 45,3 М10 Диаметр отверстия H7 1460 1310 1160
44 12 47,3 М10 Шпон паз 1090 980 870
45 14 48,8 М12 Резьба под винт 440 400 350
48 14 51,8 М12          
Диаметр
отверстия
D, мм
Ширина
паза
b, мм
Глубина
паза t
по ГОСТ
3360-78, мм
Резьба
под
винт М
  Материал Стоимость за изделия
из алюминия, стали,
нержавеющей стали
1-20шт 21-50шт 50шт+
        Стоимость
обработки
сталь,
алюминий
Диаметр отверстия H8 2200 1980 1760
        Диаметр отверстия H7 2690 2420 2150
50 14 53,8 М12 Шпон паз 1920 1730 1540
52 16 56,3 М12 Резьба под винт 480 430 380
55 16 59,3 М12 чугун Диаметр отверстия H8 2240 2020 1800
60 18 64,4 М12 Диаметр отверстия H7 2740 2470 2190
63 18 67,4 М12 Шпон паз 1960 1770 1570
65 18 69,4 М12 Резьба под винт 490 440 390
70 20 74,9   нержавеющая
сталь
Диаметр отверстия H8 2300 2060 1830
75 20 79,9   Диаметр отверстия H7 2800 2515 2235
        Шпон паз 2000 1800 1600
        Резьба под винт 500 450 400
Диаметр
отверстия
D, мм
Ширина
паза
b, мм
Глубина
паза t
по ГОСТ
3360-78, мм
Резьба
под
винт М
  Материал Стоимость за изделия
из алюминия, стали,
нержавеющей стали
1-20шт 21-50шт 50шт+
        Стоимость
обработки
сталь,
алюминий
Диаметр отверстия H8 2690 2420 2150
        Диаметр отверстия H7 3450 3100 2760
80 22 85,4   Шпон паз 2400 2160 1920
85 22 90,4   Резьба под винт 480 430 380
90 25 95,4   чугун Диаметр отверстия H8 2740 2470 2190
95 25 100,4   Диаметр отверстия H7 3510 3160 2800
100 28 106,4   Шпон паз 2440 2200 1950
105 28 111,4   Резьба под винт 490 440 390
110 28 116,4   нержавеющая
сталь
Диаметр отверстия H8 2800 2515 2235
120 32 127,4   Диаметр отверстия H7 3590 3220 2870
        Шпон паз 2500 2250 2000
        Резьба под винт 500 450 400
По вопросам механической обработки Вы можете обращаться по телефону 8 (812) 409-46-60 или по почте sales@technobearing.ru

Запрессовка подшипников в детали

300 р/шт. - стоимость услуги вне зависимости от размера подшипника и детали.

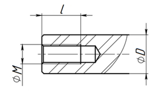
Сверление гладких и резьбовых отверстий в торцах прецизионных валов

Цены действительны для валов:

  1. Диаметром D до 50 мм включительно и длиной вплоть до 280 см.
  2. Диаметром D 60 мм и длиной не более 30 cм.

Максимальная глубина резьбы равна 2,5 её диаметра: l max = 2,5 x M

Указаны розничные цены в рубля с НДС

Диаметр вала D, мм Стоимость обработки торца стального вала** Стоимость обработки торца нержавеющего вала Стоимость обработки торца без отверстия (торцевание)
Резьба М3...М12 Резьба М16...М24 Резьба М3...М12 Резьба М16...М24
6 550 - 820 - 160
8 550 - 820 - 160
10 600 - 950 - 275
12 600 - 950 - 275
15 660 - 1000 - 330
16 660 - 1000 - 320
20 720 1100 1100 1650 390
25 720 1200 1150 1750 500
30 880 1300 1350 2000 600
40 950 1400 1450 2100 660
50 100 1500 1500 2200 720
60 1350 1750 2000 2650 1050

**в том числе с хромовым покрытием

Для справки. Виды стандартной резьбы:

  • M3x0,5
  • M4x0,7
  • M5x0,8
  • M6x1
  • M8x1,25
  • M10x1,5
  • M12x1,75
  • M16x2
  • M20x2
  • M24x3
По вопросам механической обработки Вы можете обращаться по телефону 8 (812) 409-46-60 или по почте sales@technobearing.ru

Подрезка ступицы

Услуги по подрезке ступиц и уменьшению диаметра - выполняются с высокой точностью на современном оборудовании.
Стыковка направляющих
Вид услуги Параметры Стоимость
Подрезка длины ступицы до Ø35 мм 310 руб.
до Ø60 мм 440 руб.
до Ø90 мм 800 руб.
более Ø90 мм 1000 руб.
Подрезка ширины H шестерни до Ø35 мм 500 руб.
до Ø60 мм 800 руб.
до Ø90 мм 1000 руб.
более Ø90 мм 1250 руб.
Уменьшение диаметра ступицы изделия Каждые 5 мм обточки 200 руб.
По вопросам подрезки ступиц Вы можете обращаться по телефону 8 (812) 409-46-60 или по почте sales@technobearing.ru

Стыковка направляющих

Стыковка выполняется для рельс с шариковой или роликовой каретки, зубчатой рейки, вала с опорой.
Максимальная длина одной из стыкуемых деталей 3000 мм.
Длина одной из стыкуемых деталей Стоимость одного стыка
L = 1000 мм 1200 руб.
L = 2000 мм 1600 руб.
L = 3000 мм 2300 руб.
Чертеж подрезки ступицы
По вопросам стыковки направляющих Вы можете обращаться по телефону 8 (812) 409-46-60 или по почте sales@technobearing.ru

Преимущества услуг

Особенности механической обработки изделий в компании Technobearing:
Современное оборудование обеспечивает высокую точность, а многоуровневый контроль качества на каждом этапе исключает возможность дефектов. В зависимости от конструкции деталей применяются оптимальные технологии обработки, а к каждой задаче подбирается индивидуальный подход.

Все операции, включая мехобработку валов, выполняются опытными специалистами, досконально разбирающимися в чертежах, особенностях металлов и специфике оборудования. В процессе работ строго соблюдаются технологические стандарты и требования ГОСТ.

Будем рады предоставить подробную консультацию о наших услугах. Связаться с нами можно по телефону, электронной почте или через форму обратной связи на сайте.
По вопросам механической обработки Вы можете обращаться по телефону 8 (812) 409-46-60 или по почте sales@technobearing.ru